• Home
  • Download PDF
  • Order CD-ROM
  • Order in Print
Figure 8. Engine Assembly. - Continued
Figure 9. Cylinder Block. - Continued

Repair Parts For Military 621G Scraper Page Navigation
  13    14    15    16    17  18  19    20    21    22    23  
img
. .
TM 5-3805-296-24P
0002
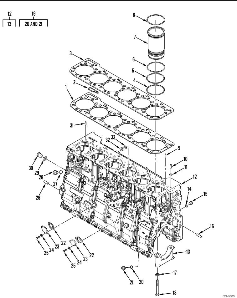
Figure 9.  Cylinder Block.
0002-20
03/15/2011Rel(1.8)root(plwp)wpno(R00001)


Privacy Statement
Press Release
Contact

© Copyright Integrated Publishing, Inc.. All Rights Reserved.