• Home
  • Download PDF
  • Order CD-ROM
  • Order in Print
Figure 144. Front and Rear Windshield Wipers, Motors and Washer Hoses. - Continued
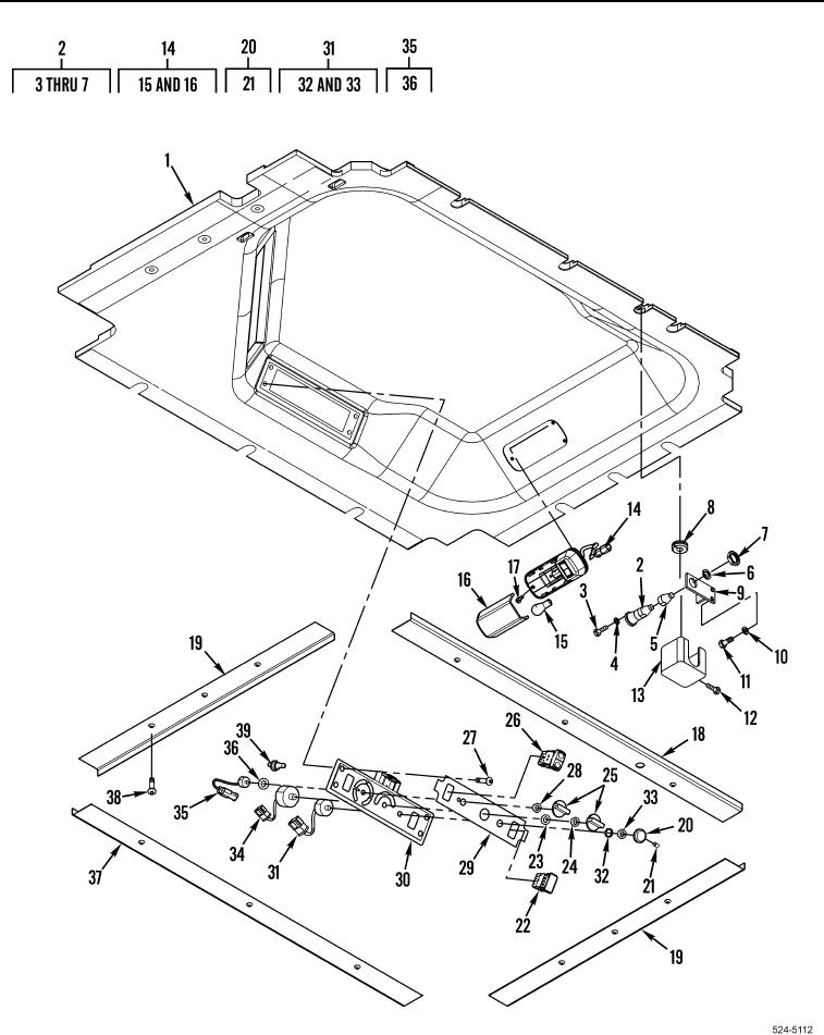
Figure 145. Cab Headliner Trim and Dash Panel Switches. - Continued

Repair Parts For Military 621G Scraper Page Navigation
  404    405    406    407    408  409  410    411    412    413    414  
img
. .
TM 5-3805-296-24P
0005
Figure 145. Cab Headliner Trim and Dash Panel Switches.
0005-10
03/15/2011Rel(1.8)root(plwp)wpno(R00004)


Privacy Statement
Press Release
Contact

© Copyright Integrated Publishing, Inc.. All Rights Reserved.