• Home
  • Download PDF
  • Order CD-ROM
  • Order in Print
Figure 126. Scraper Hydraulic Lines, Hoses and Fittings - Continued
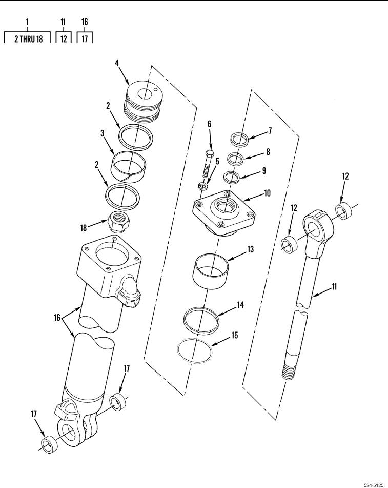
Figure 127. Apron Lift Hydraulic Cylinder Assembly. - Continued

Repair Parts For Military 621G Scraper Page Navigation
  353    354    355    356    357  358  359    360    361    362    363  
img
. .
TM 5-3805-296-24P
0004
Figure 127. Apron Lift Hydraulic Cylinder Assembly.
0004-166
03/15/2011Rel(1.8)root(plwp)wpno(R00003)


Privacy Statement
Press Release
Contact

© Copyright Integrated Publishing, Inc.. All Rights Reserved.