• Home
  • Download PDF
  • Order CD-ROM
  • Order in Print
Figure 114. Secondary Steering Lines, Hoses and Fittings. - Continued
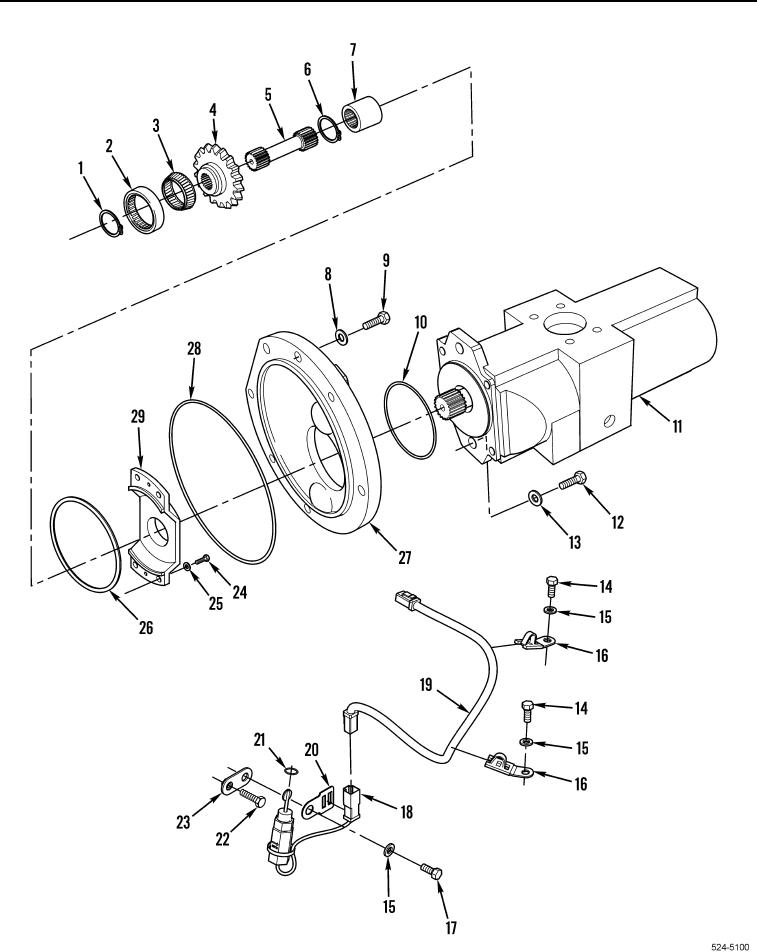
Figure 115. Secondary Steering Gear Pump, Harness and Flow Switch. - Continued

Repair Parts For Military 621G Scraper Page Navigation
  314    315    316    317    318  319  320    321    322    323    324  
img
. .
TM 5-3805-296-24P
0004
Figure 115. Secondary Steering Gear Pump, Harness and Flow Switch.
0004-124
03/15/2011Rel(1.8)root(plwp)wpno(R00003)


Privacy Statement
Press Release
Contact

© Copyright Integrated Publishing, Inc.. All Rights Reserved.