• Home
  • Download PDF
  • Order CD-ROM
  • Order in Print
Figure 67. Transmission Rotary Actuator. - Continued
Figure 68. Transmission Pressure Control Valve. - Continued

Repair Parts For Military 621G Scraper Page Navigation
  156    157    158    159    160  161  162    163    164    165    166  
img
. .
TM 5-3805-296-24P
0003
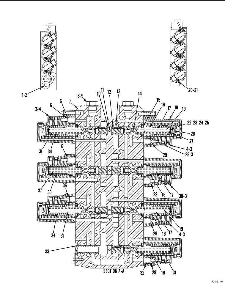
Figure 68. Transmission Pressure Control Valve.
0003-40
03/15/2011Rel(1.8)root(plwp)wpno(R00002)


Privacy Statement
Press Release
Contact

© Copyright Integrated Publishing, Inc.. All Rights Reserved.