• Home
  • Download PDF
  • Order CD-ROM
  • Order in Print
Figure 63. Power Train Lines and Fittings - Continued
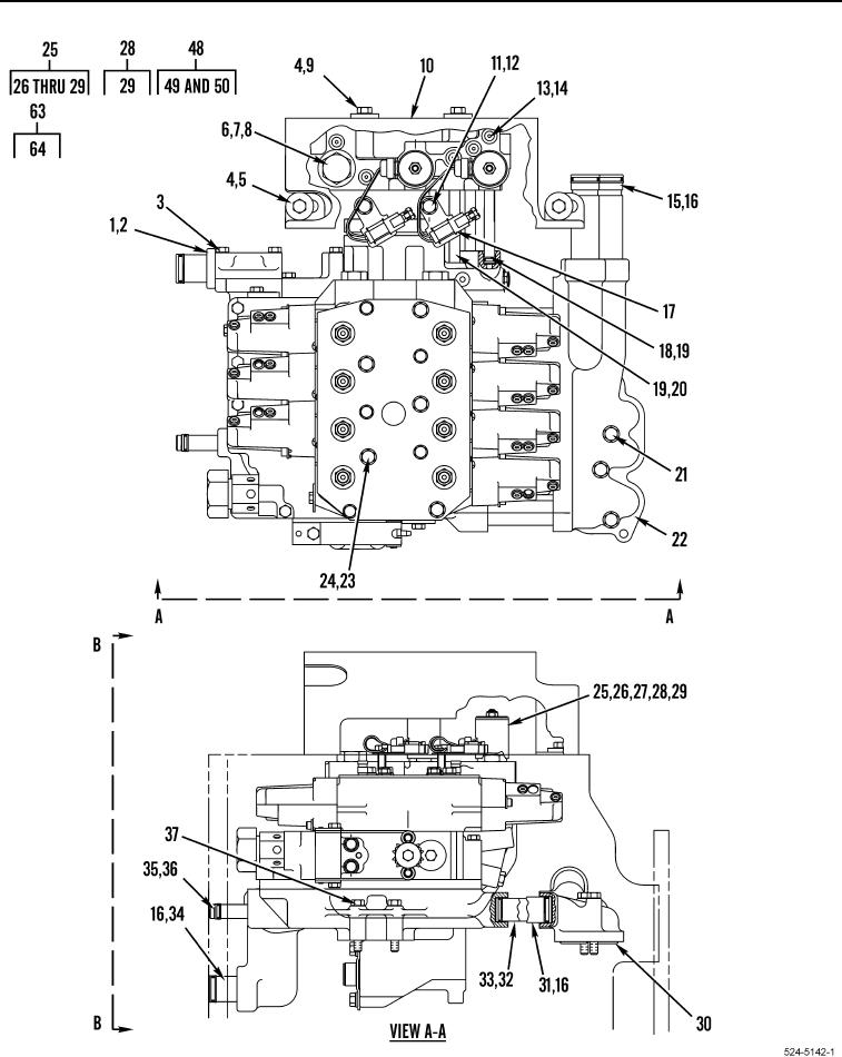
Figure 64. Transmission Hydraulic Control (Sheet 2 of 2).

Repair Parts For Military 621G Scraper Page Navigation
  144    145    146    147    148  149  150    151    152    153    154  
img
. .
TM 5-3805-296-24P
0003
Figure 64. Transmission Hydraulic Control (Sheet 1 of 2).
0003-27
03/15/2011Rel(1.8)root(plwp)wpno(R00002)


Privacy Statement
Press Release
Contact

© Copyright Integrated Publishing, Inc.. All Rights Reserved.