• Home
  • Download PDF
  • Order CD-ROM
  • Order in Print
Figure 34. Secondary Fuel Filter, Lines, Pressure Sensor, Differential Switch and Manifold. - Continued
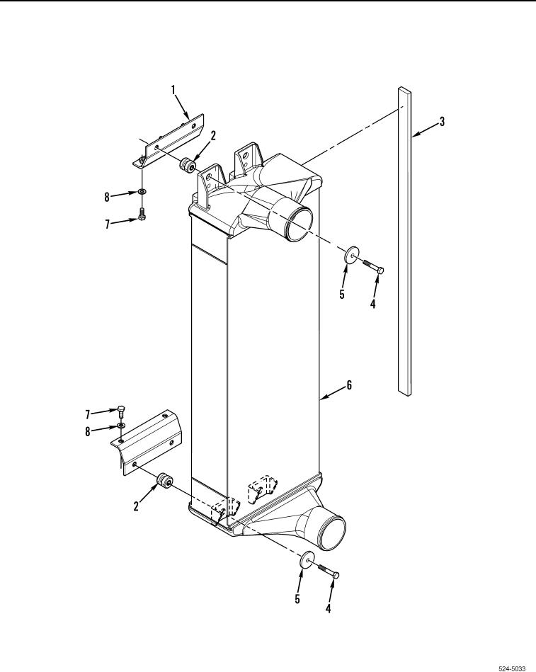
Figure 35. Aftercooler. - Continued

Repair Parts For Military 621G Scraper Page Navigation
  71    72    73    74    75  76  77    78    79    80    81  
img
. .
TM 5-3805-296-24P
0002
Figure 35. Aftercooler.
0002-84
03/15/2011Rel(1.8)root(plwp)wpno(R00001)


Privacy Statement
Press Release
Contact

© Copyright Integrated Publishing, Inc.. All Rights Reserved.