• Home
  • Download PDF
  • Order CD-ROM
  • Order in Print
Figure 30. Engine Interface Wiring Harness. - Continued
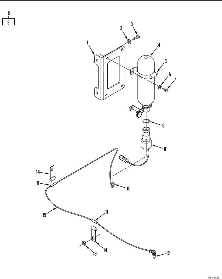
Figure 31. Ether Bottle, Valve, and Bracket. - Continued

Repair Parts For Military 621G Scraper Page Navigation
  62    63    64    65    66  67  68    69    70    71    72  
img
. .
TM 5-3805-296-24P
0002
Figure 31. Ether Bottle, Valve, and Bracket.
0002-74
03/15/2011Rel(1.8)root(plwp)wpno(R00001)


Privacy Statement
Press Release
Contact

© Copyright Integrated Publishing, Inc.. All Rights Reserved.