• Home
  • Download PDF
  • Order CD-ROM
  • Order in Print
Figure 19. Oil Pump. - Continued
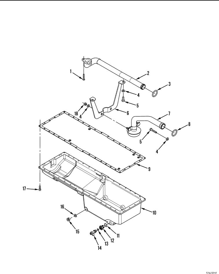
Figure 20. Oil Pan. - Continued

Repair Parts For Military 621G Scraper Page Navigation
  38    39    40    41    42  43  44    45    46    47    48  
img
. .
TM 5-3805-296-24P
0002
Figure 20.  Oil Pan.
0002-48
03/15/2011Rel(1.8)root(plwp)wpno(R00001)


Privacy Statement
Press Release
Contact

© Copyright Integrated Publishing, Inc.. All Rights Reserved.