• Home
  • Download PDF
  • Order CD-ROM
  • Order in Print
FUEL RESERVOIR PLUMBING REF 58536
ACOUSTICAL PANEL INSTALLATION REF 58539

Repair Parts For Auger, Earth Skid Mounted Page Navigation
  237    238    239    240    241  242  243    244    245    246    247  
img
TM 5-3820-245-14&P
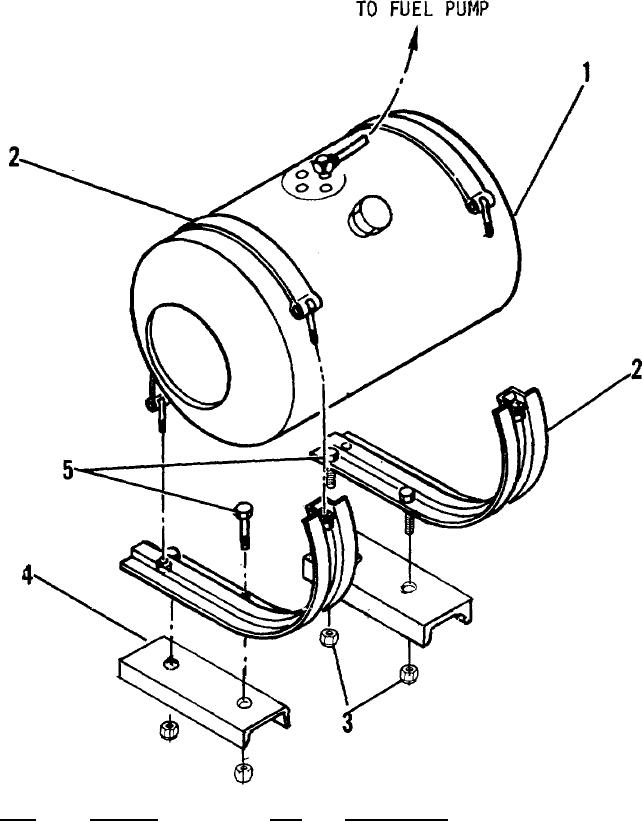
FUEL TANK INSTALLATION
ITEM
PART NO.
QTY.
DESCRIPTION
1
18380
1
FUEL TANK
2
18381
2
FUEL TANK BRACKET
3
6716
4
NUT - ELASTIC STOP 5/8 - 11 UNC
4
52011
2
MOUNT - FUEL ANK
5
7801
4
CAPSCREW - HEX. HD. - 5/8 - 11 UNC X 4" LG. GR. 5
SHEET 1 OF 1
PUBLICATION DWG. NO. PM-156-39
PAGE 56


Privacy Statement
Press Release
Contact

© Copyright Integrated Publishing, Inc.. All Rights Reserved.