• Home
  • Download PDF
  • Order CD-ROM
  • Order in Print
Figure 77. Transmission Planetary (Sheet 1 of 5).
Figure 77. Transmission Planetary (Sheet 3 of 5).

Repair Parts For Military 621G Scraper Page Navigation
  184    185    186    187    188  189  190    191    192    193    194  
img
TM 5-3805-296-24P
0003
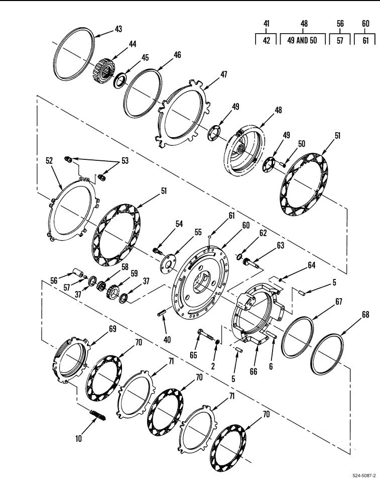
Figure 77.  Transmission Planetary (Sheet 2 of 5).
0003-71
03/15/2011Rel(1.8)root(plwp)wpno(R00002)


Privacy Statement
Press Release
Contact

© Copyright Integrated Publishing, Inc.. All Rights Reserved.